リニューアルして更に高能率を実現、耐久性バツグン!
この商品を担当させていただくのは宮城営業所勤務、三浦です。その場に合せて自由自在-重要な役割を果たす穀物搬送機
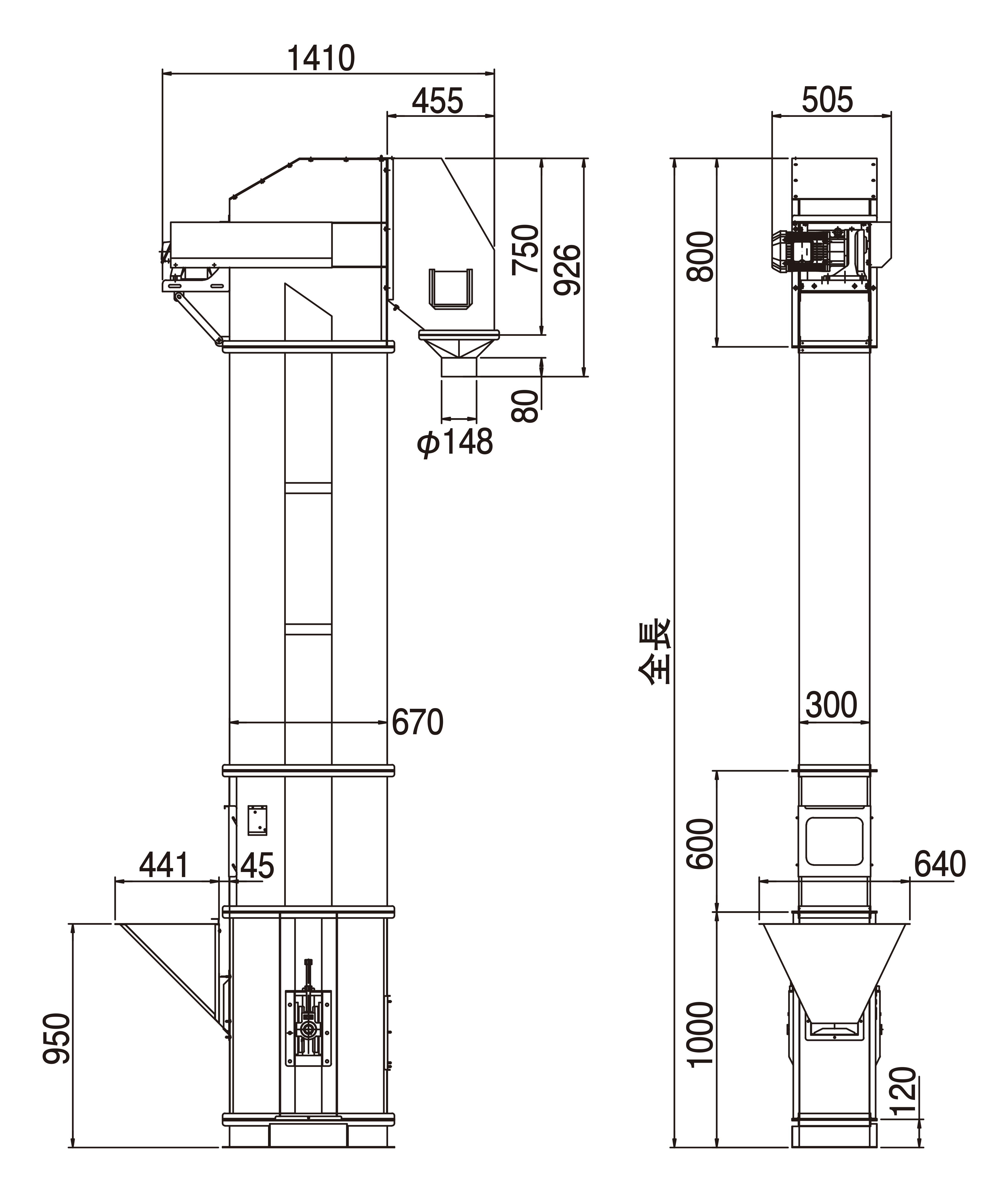
昇降機は穀物乾燥施設において、重要な役割を果たす穀物搬送機の一つです。 搬送機には様々な種類がありますが、これは穀物を縦搬送する機械です。 高い場所へと上げることにより、落差だけで流れる事が出来、またその他の搬送機を合せて使用する事により、一層能力を発揮させる事が出来ます。 穀物への痛みが少ない為、籾の他麦・大豆・玄米も搬送可能です。 主に乾燥機への張込みや、籾摺り機、穀物貯蔵タンクへの搬送に使用します。製品特徴
- 特殊バケットにより能力アップ!
- 長さも4.5mから30cm単位で10.2mまで、設置場所に合わせて変更できます。
操作方法
- モーター電源を入れます。
- 回転方向を確認します。
- ロープを操作してダンパー切替を行い、排出先を決めます。
- ホッパー部分のシャッターを開き、穀物を張り込みます。 (ホッパー部分を微調整することによって張り込む量を調整することができます。)
製品仕様
| 型式 | SH10 |
|---|---|
| 寸法(全高) | 4,500mm~10,200mm |
| 所要電力 | 三相200V-1.5KW 4P 1/15ギヤード |
| 能力 | 乾燥籾 15~20t / h |
| 標準付属品 | ・投入ホッパー(1ヶ) ・1方向排出口 ※電源スイッチ・コードは付属しておりません。 |
全長での生産です。落ち口寸法確認の上発注して下さい。
寸法図






